Posted Sunday, October 12, 2025 at 10:28pm

Subaru patents a suspension that adjusts ride height and camber in motion

Subaru patents a suspension that adjusts ride height and camber in motion

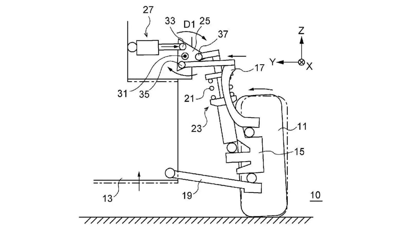
Subaru has once again surprised the industry by patenting a suspension system that can change both ride height and wheel camber at the same time—and do it while the car is moving. Filed under a patent titled Suspension device and vehicle, the design centers on an additional powered link mounted at the top of the strut. As the suspension compresses and rebounds, this link shifts the assembly’s position, adjusting body height and wheel angle in real time.

When the actuator shortens, the car sits lower, increasing negative camber and dropping the center of gravity. Extend it, and the body rises, delivering more ground clearance and stability. In effect, Subaru proposes a setup that speaks to track-day regulars and stance enthusiasts alike: lower it for the show, then raise it for the drive home.